欢迎来到 济南中创工业测试系统有限公司
您现在所在位置:首页 >> 产品展示 >> 行业列表 >> 管材管道行业检测设备
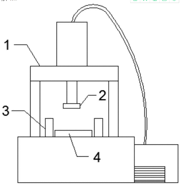
产品介绍:
镀锌钢管压扁试验机主要适用于镀锌钢管的压扁、压缩破坏、承载力、压缩负荷等力学性能测试。可实现定距离压扁和闭合压扁两种试验方式。
软件特点:
镀锌钢管压扁试验机控制软件可根据需要设置压扁高度,等速或恒应力加载,更直观的体现钢管在受力状态下的变化,高精度位移传感器测量变形量。
镀锌钢管进行压扁试验时,采用液压机进行下压试验,由于镀锌钢管的直径大小不一,普通的限位装置,适用性较差,不能满足需要;而如果不采用限位装置,经?;嵩斐筛止艿亩ザ酥行挠胙雇返闹行牟辉谕皇毕呱?,造成压头压力的偏心,长时间如此使用后会严重影响到试验机的使用寿命。
技术参数:
比较大试验力(kN) 3000
试验力测量范围 比较大试验力的2%-100%
试验力示值相对误差 ≤示值的±1%
等速应力控制范围(N/mm2·S-1) 1-10
应力速率误差 ≤±5%
上下压盘比较大距离(mm) 660
上、下压盘尺寸(mm) 500x1000
活塞行程(mm) 0-600
活塞空载上升比较大速度(mm/ min) 约200
立柱净间距(mm) 450
油泵电动机功率(kW) 3(加载油泵电机)+1.5(辅助油泵电机)
试验机主机外形尺寸(长x宽x高)(mm) 1800×850×2000
电控柜柜外形尺寸(长x宽x高)(mm) 600×480×960
主机质量(kg) 约7000

销售总机:0531-85990007 传真:+86-531-85997770
常规设备:18615658728 13031706888
非标定制:18615658711 18615658716
邮箱:jnzcgy@163.com Skype:jnzcgy_zjc@hotmail.com
售后电话:0531-62302272 售后:jnzcgy_service@163.com
地址:山东省济南市槐荫经济开发区西沙路690号
版权所有:济南中创工业测试系统有限公司 | 鲁ICP备10018659-1号